Процессы общего окрашивания оборудования и новые методы окрашивания - часть 3
Раздел 1 Общее оборудование для окрашивания - часть 3
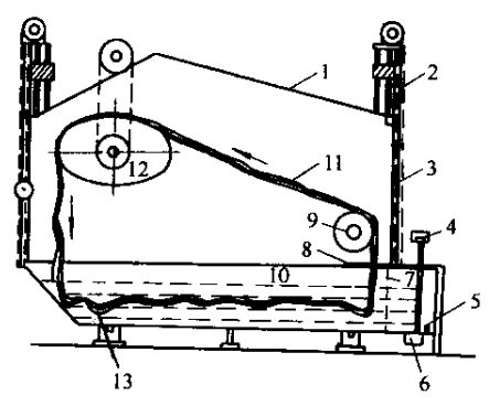
Сана


1. Крышка слота 2. Шкив 3. Дверь окна 4, 5, 6- дренажный клапан 7- Пористая пластина
8- Распределительная сетка 9- Пассивные направляющие ролик 10- Раствор для окрашивания 11- Ткань
12- Эллиптическая направляющая табличка 13- Танк для окрашивания
Характеристики обработки: оборудование имеет простую структуру, низкую цену, удобную работу, мало механических сбоев, и его легко поддерживать. Тем не менее, вход и выход для красителя для тканей требует ручной работы, что приводит к высокой интенсивности труда и низкой мощности. Его минимальное соотношение ванной красителя 1:20 в основном используется для окрашивания вязаных тканей.
Переполнение машины для красящего


1. Ткань 2. Активный направляющий ролик 3. Порт переполнения 4. переполнение канавки
5-овременный распределительный насос с 6-х-насосом с 7-х вершиной 8-х иммерс.
Характеристики обработки: оборудование имеет высокую степень автоматизации, легко эксплуатироваться, а ткань находится в расслабленном состоянии во время окрашивания, с меньшим натяжением, равномерным окрашиванием и мягким ощущением руки. Его можно окрасить при комнатной температуре и давлении, а также можно использовать для высокотемпературного и окрашивания высокого давления. В основном он подходит для окрашивания вязаных тканей с синтетическим волокном, эластичных тканей и тонких, рыхлых и эластичных продуктов из целлюлозного волокна.
Jet Dyeing Machine

1. Ткань 2. Сопла 3. Зона погружения 4. Циркуляционный насос
5-HEA Gravanger 6-Backwash сопла 7-карманный барабан с 8 кормлениями насос
Разница между машиной для красящего струйного краска и машиной для окрашивания переполнения
Основное отличие состоит в том, что подъем ткани в машине для окрашивания переполнения приводится в движение активным направляющим роликом, в то время как подъем ткани в струйной машине приводится в движение реактивным красителем, поэтому натяжение на ткани меньше,, Напряжение на каждой части более равномерно, а ощущение красителя мягче. Но рабочие требования этого устройства высоки, а подходящие форсунки должны быть выбраны в соответствии с различными спецификациями тканей. Если не освоить должным образом, легко вызвать закупорку ткани.
Машина для окрашивания струйного перелива


1. Ткань 2. направляющий ролик 3. Порт переполнения 4. Сопла 5. Ткань, передающая трубопровод, трубопровод
6-перерегистрационный бак 7-циркуляционный насос 8-разгреватель
Особенности: Машина для окрашивания имеет как устройство переполнения, так и устройство для опрыскивания. По сравнению с переполненными машинами для окрашивания, ткани подвергаются меньшему напряжению, имеют меньшее соотношение ванны с окрашиванием, имеют более высокую скорость циркуляции между раствором красителя и тканью и имеют лучшую уровни. По сравнению с машиной для окрашивания реактивного материала, операция относительно проста, но легко производить много пены.
AT275 Лабораторная машина для окрашивания лебедки от AnyTester предназначена для лабораторного использования красителя, кипения, отбеливания и промывки и т. Д. Обработка для всех видов ткани ослепительных до 100 ℃, а также для применения красителя и обработки для Rayon, Polyacry- нитриловое волокно и смешанная ткань при нормальной температуре и нормальном давлении. Нажмите здесь, чтобы узнать больше.
Для получения дополнительной информации окрашивают, пожалуйста, свяжитесь с нами.