Объем
1Полем Эти методы испытаний охватывают средства кажущейся плотности, объемного коэффициента и, где применимо, наполнение пластиковых материалов, таких как литьевые порошки. Различные процессы представлены для применения к различным формам этих материалов, которые обычно встречаются, образуют мелкие порошки и гранулы для больших хлопьев и вырезанных волокон.
2Полем Значения, указанные в единицах SI, должны рассматриваться как стандарт. Значения в скобках предназначены только для информации.
ПРИМЕЧАНИЕ 1-Метод теста A эквивалентен методу ISO R 60, как описано в Приложении. Метод испытаний C идентичен методу ISO R 61.
Метод кажущегося тестирования плотности
1. Сфера применения
1. Метод испытания A охватывает измерение апарентной плотности тонких гранул и порошков, которые можно легко залить через небольшую воронку.
2. аппарат
2.1 Измерение Cup-A Цилиндрическая чашка со скоростью 100 ± 0,5 см, имея диаметр, равный половине высоты, например, 39,9 мм (1,572 дюйма) внутренней диаметром на 79,8 мм (3,144 дюйма), как высота, как показано на рис.1
2.2 Воронка, имеющая отверстие диаметром 9,5 мм в Боттоне, и установлена на высоте 38 мм над измерительной чашкой, как показано на рис.1.
3. Процедура
3.1. С помощью устройства, собранного, как показано на рис.1, закройте небольшой конец воронки рукой или подходящей плоской полосой, и вылейте образец 115 ± 5 см времена в воронку. Быстро откройте боттон воронки и позвольте материалу свободно течь в чашку. Если в воронке происходит пакинг, материал может быть ослаблен небольшим стеклянным стержнем.
3.2 После того, как все материал прошел через воронку, немедленно отцарапайте излишки на вершине чашки с помощью Straighedge, не встряхивая чашку. Всадить материал в чашке до ближайшего 0,1 г. Рассчитайте вес в граммах 1 смграни материал.
3.3 Очень тонкий материал, который будет мощено, а не течь через воронку может быть легко изливается из бумаги, удерживающей около 38 мм (1,5 дюйма) над отверстием измерительной чашки.
Метод испытания b
1 сфера
1.1 Метод испытаний B охватывает измерение кажущейся плотности грубых, гранулированных материалов, включая кости и гранулы, которые либо не могут быть залиты, либо которые заливают с различием через воронку, описанную в методе испытаний A.
2. аппарат
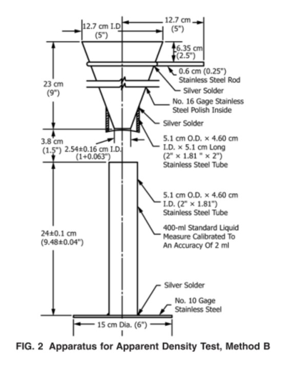
2.1 ЧЕРБОВАЯ ЧАБА-А-Цилиндрическая чашка из 400 смств, как показано на рис.2.
2.2 Воронка, имеющая раскрытие 25,4 мм (1 дюйма) в Боттоне и монтируется на высоте 38 мм (1,5 дюйма) над измерительной чашкой, как показано на рис.2.
3. Процедура
3.1. С помощью устройства, собранного, как показано на рис. 2, закройте небольшой конец воронки рукой или с подходящей плоской полосой, и вылейте образец 500 ± 20 смств в воронку. Быстро откройте боттон воронки и позвольте материалу свободно течь в чашку.
3.2 После AL материал прошел через воронку, немедленно вычистите излишки на вершине чашки, а выносят, когда вы встряхивали чашку. Всадить материал в чашке до ближайшего 0,1 г. Затем вычислите вес в граммах 1 смА материала. Сделайте три определения кажущейся плотности на каждой выборке и средние результаты (примечание 2).
Метод испытания c
1. Сфера применения
1.1 Метод испытаний C (см. Примечание 1) охватывает измерение кажущейся плотности материалов, поставляемых в виде грубых хлопьев, чипов, вырезанных волокна или прядей. Такой материал не может быть выложен через описание воронки в методе испытаний A и B. Кроме того, поскольку они обычно очень громоздки, когда они свободно наливают, и, поскольку они обычно являются оказаниями по сравнению с меньшей массой, даже вручную, мера их плотности под небольшой нагрузкой полезна.
2. аппарат.
2.1 Измерение цилиндра-цилиндр 1000 см3, как показано на рис.3.
2.2 Wight Plunger-A Цилиндр, закрытый на одном конце и имел внешний диаметр, немного меньше, чем внутренний диаметр измерительного цилиндра, как показано на фиг.3.3, поршень должен вырезать шкалу на внешней поверхности, градуированной с интервалами 1 мм.
3. Процедура
3.1 Поместите измерительный цилиндр на лист бумаги, свободно падающего на 60 ± 0,2 г материала, который будет протестирован в измерительный цилиндр из HeoGht примерно в цилиндре, позаботился о том, чтобы не терять материала и отбросить его столь же одинаковым практически возможно. Прежде чем применять Weaifght, выровняйте материал в измерении в сантиметрах и идентифицируйте это измерение как H1.
3.2. Заполните весовой поршень свинцом, чтобы получить вес 2300 ± 20 г (5,07 ± 0,04 фунта), включая поршень, постепенно снижая этот вес в измеренный цилиндр до тех пор, пока оно не будет заинтересованным материалом. Позвольте весу устроиться на 1 минуту и перейдите к чтению из шкалы до ближайшего 0,1 см. Это чтение даст непосредственно в сантиметрах высоту материала.
Что касается этого стандарта ASTM D1895, мы хотели бы порекомендовать вам нашего тестера AT303 Series ASTM. Для режима Detsil, если у вас есть какой -либо интерес, пожалуйста, свяжитесь с нами без каких -либо колебаний.

1-Funnel
2-фуннель, поддерживающее кольцо
3-фиксированный винт
4-х приспособление
5-металлическая плоская полоса
6-баз
7 измерение чашки