AT280
Anytester
| штат: | |
|---|---|
Описание продукта
Лабораторный диапазон лабораторных блюд AT280 применим для лабораторного моделирования процесса окрашивания и отделки мастерской сушки. Процесс непрерывной пары пары - очень эффективный процесс по сравнению с пакетным красителем, что приводит к низким затратам и большему производству. Непрерывное окрашивание используется для НДС, реактивного, диспергирования, серы, кислоты, прямых пигментов и т. Д. В зависимости от различных необходимых применений, которые вы можете выбрать необходимый технологический процесс:
1 прокладка → IR Предварительное нагревание → Промежуточная сушилка → термосоль
Основываясь на вышеуказанной технологии, вы можете моделировать производственные условия для достижения хорошей воспроизводимости.
Функции
★ Он принимает высококачественный SU304 из нержавеющей стали с зеркальной поверхностью, которая устойчива к коррозии;
★ Использование 12 ПК и ИК -нагревающих деталей, чтобы сделать нагрев более высокой эффективностью
★ Двигатель управления частотой делает машину более простым
★ Тестированная ткань может быть зафиксирована с помощью Clipper, которая позволяет проверять различные ткани одновременно на более высокую эффективность.
★ Содержание ткани внутри паровой камеры может быть селективным 6 м или 3м зависит от необходимости
★ Время задержки может быть скорректировано соответственно между 30 секундами до 120 секунд с цифровым индикатором, чтобы указать больше
★ Все направляющие в контакте с тестируемой тканью связаны с тефлоновым покрытием, чтобы избежать окрашивания
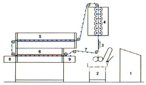
Структура

1. Переключить шкаф
2. Горизонтальное устройство накладки
3. Тестовая ткань
4. IR Pre-Deater
5. Промежуточная сушилка
6. Термозольная камера
7. Клип -цепь
8. Ткань -приемник после сушки
9. Ткань -приемник после термозоля
Техническая спецификация
Модель | AT280 |
Заполнение устройства | |
Горизонтальная прокладка Мангл | Длиной 300 мм и диаметр 125 мм |
Заполнение роликового материала | Nbr .rubber с 70 жесткостью на берегу Цельсия ± 3 |
Рабочее давление | 0,03-0,8 МПа |
Красинг резервуар | 4 отсека каждую емкость 150 куб. |
Защитные устройства | Кнопка экстренной аварийной кнопки, чтобы немедленно остановить бег двигателя и освобождать ролики |
Источник питания | AC380V, 50 Гц, 370 Вт двигатель с редуктором |
Аксессуар | Снижение воздуха, давление давления, воздушный фильтр, душевое устройство |
ИК-предварительный разборщик | |
Тип | 12 шт. |
Электрическая емкость | Всего 4,8 кВт, 3 фазы |
Расстояние отопления | 900 мм |
Сушилка | |
Высыхает зоон | 1800 мм |
Контроль температуры | Автоматически контролировать между 20 ~ 150 ℃ , предварительно |
Моторная мощность | 3 фаза 380 В, 5 Гц 9 кВт |
Циркулирующий вентилятор | 3 фазы 1 л.с. с регулируемым ускорением ускорения |
Термозольная камера | |
Рабочая дистанция | 1500 мм |
Температурная диапазон | 20 ~ 240 ℃ |
Моторная мощность | 3 фаза 380 В, 5 Гц 9 кВт |
Циркулирующий вентилятор | 3 фазы 1 л.с. с регулируемым ускорением ускорения |
Вся машина | |
Власть | 3 Pahse, 380V, 50 Гц 25 кВт |
Dimensions | 3000*1300*3300 мм |
Масса | Примерно 2500 кг |